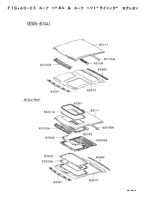
ルーフ パネル & ルーフ ヘッドライニング セクション
図面はこちら 右クリックして新しいウインドを開くと検索しやすいです。
| 始期−終期 | 適用形式 | 代 替 |
品 番 (備考) |
個 数 |
切替コード | ||
| 始 | 終 | ||||||
| 63102A パネル サブ アッセブリ、 ウインド シールド ヘッダ | |||||||
| c | 8305-8704 | AE8# | 63102-12010- | 1 | 11 | 160 | |
| 63104 リインホースメント サブ アッセンブリ、 ルーフ パネル、 センタ | |||||||
| c | 8305-8704 | AE8# | 63141-12090- | 1 | 11 | 160 | |
| 63105A フレーム サブ アッセンブリ、 バック ドア オープニング | |||||||
| 8305-8505 | AE8#..SR,GTV | # | 63105-12090- (63105-12100-) |
1 | 11 | ||
| c | 8305-8704 | AE8#..2D | 63133-12130- | 1 | 11 | 160 | |
| 8505-8509 | AE8#..3D | # | 63105-12100- (63105-12170-) |
1 | |||
| 8509-8603 | AE8#..3D | # | 63105-12100- (63105-12170-) PLANT.M21.M22 |
1 | |||
| 8509-8603 | AE8#..3D | 63105-12160- PLANT.A51-A54 |
1 | ||||
| c | 8603-8704 | AE8#..3D | 63105-12170- | 1 | 160 | ||
| 8305-8505 | AE86..3D..APX | # | 63105-12100- (63105-12170-) |
1 | 11 | ||
| 63111 パネル、 ルーフ | |||||||
| c | 8305-8704 | AE8#..2D | 63111-12210- W/O SUN ROOF |
1 | 11 | 160 | |
| c | 8305-8704 | AE8#..2D..(SE,GT,APX) | 63111-12220- W/SUN ROOF |
1 | 11 | 160 | |
| c | 8305-8704 | AE8#..3D | 63111-12190- W/O SUN ROOF |
1 | 11 | 160 | |
| c | 8305-8704 | AE8#..3D | 63111-12200- W/SUN ROOF |
1 | 11 | 160 | |
| 63142 リインホースメント、 ルーフ パネル | |||||||
| c | 8305-8704 | AE8#..SR,SE,GT,GTV,APX | 63142-12010- | 1 | 11 | 160 | |
| 63201A パネル サブ アッセンブリ、 スライディング ルーフ オア リムーバブル ルーフ | |||||||
| c | 8305-8704 | AE8#..SR,SE,GT,GTV,APX | 63201-12090- | 1 | 11 | 160 | |
| 63203A ハウジング サブ アッセンブリ、 スライディング ルーフ オア リムーバブル ルーフ | |||||||
| 8305-8307 | AE8#..SR,SE,GT,GTV,APX | # 「 ・ ・ |
63203-12050- (63203-12090-) (63255-12040-) (90159-60219-) |
1 | 11 | 18 | |
| 8307-8402 | AE8#..SR,SE,GT,GTV,APX | # | 63203-12090- (63203-12091-) |
1 | 19 | 38 | |
| 8402-8606 | AE8#..SR,SE,GT,GTV,APX | # | 63203-12091- (63203-12101-) |
1 | 39 | ||
| c | 8606-8704 | AE8#..SR,SE,GT,GTV,APX | 63203-12101- | 1 | 160 | ||
| 63209 パネル サブ アッセンブリ、 ルーフ ウインド デフレクタ | |||||||
| c | 8305-8704 | AE8#..SR,SE,GT,GTV,APX | 63209-12020- | 1 | 11 | 160 | |
| 63251 ウエザストリップ、 スライディング ルーフ パネル オア リムーバブル ルーフ | |||||||
| c | 8305-8704 | AE8#..SR,SE,GT,GTV,APX | 63251-12030- | 1 | 11 | 160 | |
| 63310 ヘッドライニング アッセンブリ、 ルーフ | |||||||
| 8305-8505 | AE8#..2D | 63311-12540- W/O SUN ROOF,IVORY |
1 | 11 | 100 | ||
| c | 8505-8704 | AE8#..2D | 63311-12700-08 W/O SUN ROOF,IVORY |
1 | 101 | 160 | |
| 8305-8505 | AE8#..2D..(SE,GT,APX) | 63310-12620- W/SUN ROOF,IVORY |
1 | 11 | 100 | ||
| c | 8505-8704 | AE8#..2D..(SE,GT,APX) | 63310-12820-08 W/SUN ROOF,IVORY |
1 | 101 | 160 | |
| 8305-8505 | AE8#..3D | 63310-12600- W/SUN ROOF,IVORY |
1 | 11 | 100 | ||
| 8305-8505 | AE8#..3D | 63311-12500- W/O SUN ROOF,IVORY |
1 | 11 | 100 | ||
| c | 8505-8704 | AE8#..3D | 63310-12810-08 W/SUN ROOF,IVORY |
1 | 101 | 160 | |
| c | 8505-8704 | AE8#..3D | 63311-12630-08 W/O SUN ROOF,IVORY |
1 | 101 | 160 | |
| 63320 ヘッドライニング アッセンブリ、 サン ルーフ オア リムーバブル ルーフ | |||||||
| 8305-8307 | AE8#..SR,SE,GT,GTV,APX | 63320-12030- IVORY |
1 | 11 | 18 | ||
| 8307-8505 | AE8#..SR,SE,GT,GTV,APX | 63320-12040- IVORY |
1 | 19 | 100 | ||
| c | 8505-8704 | AE8#..SR,SE,GT,GTV,APX | 63320-12050-08 IVORY |
1 | 101 | 160 | |
| 63320A モールディング、 サン ルーフ オア リムーバブル ルーフ オープニング トリム | |||||||
| c | 8305-8704 | AE8#..SR,SE,GT,GTV,APX | 63318-12020-08 IVORY |
1 | 11 | 160 | |
| 63391 トリム、 ルーフ ヘッドライニング、 フロント | |||||||
| 8305-8505 | AE8# | 63304-12020-02 DEEP MAROON |
1 | 11 | 100 | ||
| 8305-8505 | AE8# | 63304-12020-04 BLUE |
1 | 11 | 100 | ||
| c | 8505-8704 | AE8# | 63304-12020-01 BLACK |
1 | 101 | 160 | |
| 63392 トリム、 ルーフ ヘッドライニング、 リヤ | |||||||
| 8305-8505 | AE8#..2D | 63305-12040-02 DEEP MAROON |
1 | 11 | 100 | ||
| 8305-8505 | AE8#..2D | 63305-12040-04 BLUE |
1 | 11 | 100 | ||
| c | 8505-8704 | AE8#..2D | 63305-12040-01 BLACK |
1 | 101 | 160 | |
| 8305-8505 | AE8#..3D | 63392-12110-02 DEEP MAROON |
1 | 11 | 100 | ||
| 8305-8505 | AE8#..3D | 63392-12110-04 BLUE |
1 | 11 | 100 | ||
| c | 8505-8704 | AE8#..3D | 63392-12110-01 BLACK |
1 | 101 | 160 | |
車検・外装パーツ 目次 へ戻る